Методы крепления низа обуви
Прикрепление низа обуви (подошвы, каблука) к ее верху завершает создание конструкции изделия и осуществляется многими способами (методами). Методы крепления подошвы обусловлены не только подошвенными крепителями (клеевые пленки, нитки, гвозди, винты и др.), но и схемой крепления подошвы с верхом при использовании других деталей низа – стельки, ранта, подложки и др. Такая схема определяет конструкцию низа обуви. При двух методах (горячей вулканизации и литьевом) крепление подошвы и каблука производят одновременно с их изготовлением. В связи с этим мы назвали этот раздел «Методы крепления низа», а не подошвы.
Методы крепления низа играют большую роль в формировании ассортимента и свойств кожаной обуви. Они во многом определяют ее конструкцию и оказывают в той или иной мере влияние на все важнейшие потребительские свойства обуви – прочность, надежность, износостойкость, внешний вид, легкость, гибкость, влагозащитные, теплозащитные и паропроводные свойства, удобство в носке.
Существуют три группы методов крепления низа обуви:
Механические методы крепленияКрепление низа обуви осуществляется с помощью различных подошвенных крепителей (нитки, гвозди, винты и т.д.). К таким методам относятся: гвоздевой, винтовой, рантовый, доппельный, сандальный, выворотный и др.; |
Химические методы крепленияКрепление низа обуви осуществляется за счет химической реакции (адгезии) между материалами. К таким методам относятся: клеевой, литьевой, строчечно-литьевой, метод прессовой вулканизации и др.; |
Комбинированные методы крепления.Крепление низа обуви осуществляется сочетанием методов первых двух групп (механический + химический). К таким методам относятся: гвозде-клеевой, рантово-прошивной, рантово-скобочный, рантово-клеевой, доппельно-клеевой, строчечно-клеевой, клеепрошивной и др. |
Гвоздевой методПодошву прикрепляют к стельке через подложку и затяжную кромку заготовки верха гвоздями.![]() 1 - верх обуви, 2 - подкладка, 3 - вкладная стелька, 4 - стелька (основная), 7 - простилка, 8 - подложка, 9 - клеевой шов, 10 - подошва, 12 – гвоздь * Винтовой метод. Подошва через затяжную кромку заготовки верха крепится к стельке навинтованной металлической проволокой. * Прошивной метод. Подошва до пяточной части прикрепляется нитками к стельке обуви. Пяточная часть крепится нитками, гвоздями или винтами. * Рантовый метод. Подошва крепится к заготовке верха нитками. Рант через затяжную кромку заготовки верха прикрепляется с помощью ниток к губе стельки, затем к нему пристрачивают подошву. Стежки рантового шва располагаются параллельно поверхности подошвы, нитки находятся между подошвой и стелькой, поэтому гигротермическое воздействие на нитки невелико, а от непосредственного воздействия обувь имеет высокие эксплуатационные и гигиенические свойства, хорошую формоустойчивость. *Сандальный метод. Затяжную кромку заготовки верха отгибают наружу, зажимают между рантом и подошвой и все вместе сшивают. Метод характеризуется отсутствием стельки. Обувь сандального метода крепления имеет мягкую и гибкую конструкцию, хорошие гигиенические свойства, низкую материалоемкость. *Доппельный (полусандальный) метод. До пяточной части подошва крепится сандальным методом. Подкладку на этих участках заготовки загибают на стельку и скрепляют с ней клеем. Пяточная часть заготовки верха вместе с подкладкой крепится к стельке гвоздями, винтами или другим жестким крепителем. Обувь обладает повышенной формоустойчивостью и прочностью крепления по сравнению с теми же показателями обуви сандального метода, лучшими гигиеническими свойствами, эластичностью. * Метод "Парко". Подошва прикрепляется к ранту, предварительно пристроченному непосредственно к затяжной кромке заготовки верха по всему периметру в обуви без основной стельки, или до пяточной части в обуви с основной стелькой. * Выворотный метод. Подошву пристрачивают к заготовке верха швом, стежки которого проходят насквозь заготовку и половину толщины подошвы. В другой разновидности этого метода подошву из мягкой кожи пристрачивают к заготовке, после чего заготовку выворачивают так, что шов остается внутри обуви. Метод характеризуется отсутствием стельки. Данным методом изготавливают в основном спортивную, домашнюю обувь. И др. |
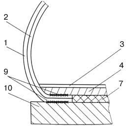
Химические методы крепления:* Клеевой метод. Подошву прикрепляют к заготовке верха клеевым швом. 1 - верх обуви, 2 - подкладка, 3 - вкладная стелька, 4 - стелька (основная), 7-простилка, 9 - клеевой шов, 10 – подошва * Литьевой метод. Материал для низа обуви впрыскивается в пресс-форму, где и осуществляется его крепление к заготовке верха с одновременным формованием и отделкой.
Литьевой и строчечно-литьевой методы 1 - верх обуви, 2 - подкладка, 3 - вкладная стелька, 4 - стелька (основная), 6 - втачная стелька, 7 - простилка, 9 - клеевой шов, 10 - подошва, 11 - ниточный шов
* Метод прессовой (горячей) вулканизации. В пресс-форме под давлением и при высокой температуре осуществляется одновременно вулканизация сырой резиновой смеси, формование низа из этой смеси и прикрепление его к заготовке верха обуви.
1 - верх обуви, 2 - подкладка, 3 - вкладная стелька, 4 - основная стелька, 7 - простилка, 9 - клеевой шов, 10 - подошва
|
Комбинированные методы крепленияГвозде-клеевой метод. Подложка через затяжную кромку заготовки верха крепится к стельке с помощью гвоздей. Затем к подложке приклеивают подошву. 1 - верх обуви, 2 - подкладка, 3 - вкладная стелька, 4 - стелька (основная), 7 - простилка, 8 - подложка, 9 - клеевой шов, 10 - подошва, 12 - гвоздь * Рантово-прошивной и рантово-скобочный методы. Рант через затяжную кромку заготовки верха прикрепляется к стельке нитками или скобками, а затем к нему пришивается подошва. 1 - верх обуви, 2 - подкладка, 3 - вкладная стелька, 4 - стелька (основная), 5 - рант, 7 - простилка, 9 - клеевой шов, 10 - подошва, 11 - ниточный шов * Рантово-клеевой метод. Рант через затяжную кромку заготовки пристрачивают к губе стельки. Затем к ранту пристрачивается подложка, к которой приклеивается подошва 1 - верх обуви, 2 - подкладка, 3 - вкладная стелька, 4 - стелька (основная), 5 - рант, 7 - простилка, 8 - подложка, 9 - клеевой шов, 10 - подошва, 11 - ниточный шов *Доппельно-клеевой метод. Затяжную кромку заготовки верха отгибают наружу, зажимают между рантом и подложкой и все вместе сшивают до пяточной части. Пяточную часть крепят к подложке отдельно гвоздями или нитками. Затем к подложке приклеивают подошву. 1 - верх обуви, 2 - подкладка, 3 - вкладная стелька, 4 - стелька (основная), 5 - рант, 7 - простилка, 8 - подложка, 9 - клеевой шов, 10 - подошва, 11 - ниточный шов * Строчечно–клеевой метод. К заготовке верха обуви пристрачивают мягкую стельку и обтяжку, которую приклеивают затем к платформе. Подошву приклеивают к обтяжке и платформе. * Клеепрошивной (борто-клеевой/бортопрошивной) метод. Формованная подошва с отогнутым и расположенным выше ребра следа краем прикрепляется к плоской или полуплоской заготовке верха обуви клеем и нитками или полоской из кожи, или других материалов. 1 - верх обуви, 2 - подкладка, 3 - вкладная стелька, 4 - стелька (основная), 7 - простилка, 9 - клеевой шов, 10 - подошва, 11 - ниточный шов |






























































Литьевой и строчечно-литьевой методы 1 - верх обуви, 2 - подкладка, 3 - вкладная стелька, 4 - стелька (основная), 6 - втачная стелька, 7 - простилка, 9 - клеевой шов, 10 - подошва, 11 - ниточный шов
* Метод прессовой (горячей) вулканизации. В пресс-форме под давлением и при высокой температуре осуществляется одновременно вулканизация сырой резиновой смеси, формование низа из этой смеси и прикрепление его к заготовке
1 - верх обуви, 2 - подкладка, 3 - вкладная стелька, 4 - основная стелька, 7 - простилка, 9 - клеевой шов, 10 - подошва